|
杭 州 师 范 大 学 2019 年招收攻读硕士研究生考试题
考试科目代码: 837 考试科目名称: 科学教学论 |
||||||
|
说明:考生答题时一律写在答题纸上,否则漏批责任自负。 |
||||||
|
一、单项选择题(每题3分,共30分) 1.我国法律规定严禁种植能提取毒品的植物。下列属于此类植物的是 A.大麻 B.天麻 C.蓖麻 D.亚麻 2.下列广告语中,有明显科学性错误的是 A.本化肥含磷元素,可以促进幼苗的生长发育 B.本洗衣粉含能高效分解油污的蛋白酶,洗涤效果佳 C.本酸奶含乳酸菌,适量饮用有益人体健康 D.本药品含抗生素,可以治疗细菌性感冒 3.右图为氢气还原氧化铜的实验装置图,下列有关分析正确的是
A.装置中试管口需略向下倾斜,主要是为了利于通入氢气 B.在给试管内药品加热前,需先通氢气排尽试管内的空气 C.待药品完全反应后,需同时撤去酒精灯和通氢气的导管 D.该实验装置也可直接用于一氧化碳还原氧化铜的实验 4.2018年5月12日是我国第十个全国防灾减灾日,面对灾害和意外,下列措施不合理的是 A.泥石流发生时,应设法从房屋里跑出并顺沟方向往上游或下游逃生 B.发生火灾且室内浓烟密布时,应俯伏在地上爬行并用潮湿毛巾掩盖口鼻 C.发生地震时,底楼的人应迅速跑到室外开阔的地带避险 D.发现煤气中毒者,首先必须将病人从中毒环境迅速转移到空气清新的地方 5.测量是一个把待测的量与公认的标准进行比较的过程。下列实验过程中没有用到这一科学原理的是 A.用天平测出某物体的质量 B.用弹簧秤测出某物体的重力 C.用光学显微镜观察小鱼尾鳍内的血液流动 D.用pH试纸测出某溶液的pH 6.在无菌条件下将铁皮石斛植株的组织放在含有全面营养成分的培养基上培养,培育出许多与原来的铁皮石斛基本相同的新个体。上述培育技术 A.属转基因技术,能大幅度改良后代的性状 B.优点是后代能保持亲本的优良性状,且繁殖速度快 C.与克隆技术相比,二者产生后代的生殖方式完全不同 D.属组织培养技术,能使后代获得比亲本更优良的性状 7.如图为吸盘式挂杆,将吸盘压在瓷砖上排尽其中的空气,挂杆就能被固定在瓷砖上。挂有平底锅的挂钩沿光滑水平横杆从P点开始向吸盘B移动,若吸盘与横杆的重力、吸盘大小均忽略不计,设挂钩与吸盘A的距离为l,则吸盘B受到的摩擦力F的大小与l的关系图像为
9.如图所示,四个相同的玻璃瓶内装有深度不同的水。用筷子轻轻敲击瓶口或用嘴贴着瓶口吹气,会发出不同的声音。下列关于所发出声音的判断中正确的是
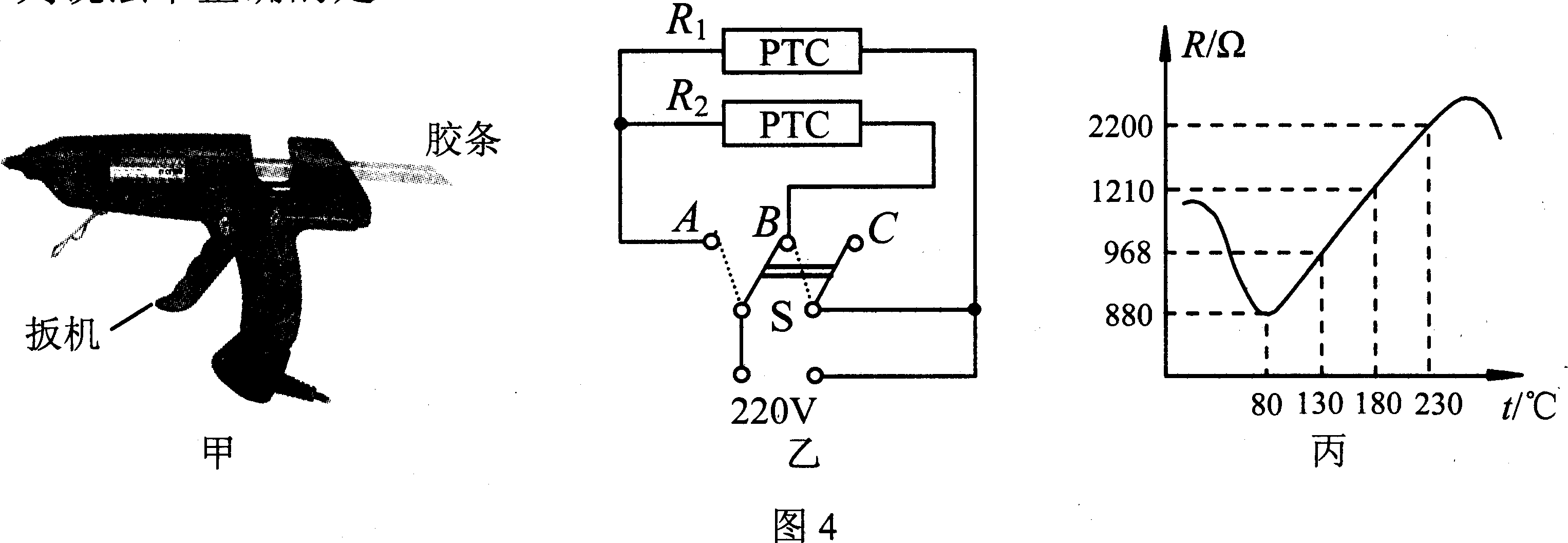
A.用筷子轻轻敲击瓶口,甲瓶的音调最高 B.用嘴贴着瓶口吹气,甲瓶的音调最高 C.用筷子轻轻敲击瓶口,丁瓶的音调最低 D.用嘴贴着瓶口吹气,丁瓶的音调最高 10.如图甲所示的热熔胶枪是一种装修工具,用于材料涂胶。它的内部有2只相同的PTC(正温度系数)加热元件,其工作电路如图乙所示,扣动扳机能使固体胶条向前挤压,联动开关S同时掷向A、B,枪口冒出胶液,松开扳机,联动开关S同时掷向B、C。单只PTC元件的电阻随温度的变化如图丙所示。关于PTC元件的工作情况,下列说法中正确的是 A.扣动扳机,两只PTC元件串联在电路中 B.松开扳机,只有一只PTC元件接入电路 C.松开扳机,当温度为80℃时,电路消耗的电功率为55W D.扣动扳机,当温度为180℃时,1min电路消耗的电能为4800J
二、简答题(每题15分,共45分) 1.简述初中科学课程基本理念之“体现科学探究的精神”的要义。 2.简述“类比”这一科学方法的含义以及运用其解决问题的要点。 3.甲、乙两位同学对“雨滴的下落速度是否跟雨滴的大小有关”持有不同的意见,于是他们对此展开研究。他们从网上查到,雨滴在下落过程中接近地面时受到的空气阻力与雨滴的横截面积S成正比,与雨滴下落速度v的平方成正比,f=kSv2(其中k为比例系数,是个定值),雨滴接近地面时可看做匀速直线运动。把雨滴看做球形,其半径为r,密度为ρ,比热为c,球的体积为 (1)半径为r的雨滴重力为 ▲ 。 (2)在接近地面时,大雨滴的下落速度 ▲ 小雨滴的下落速度(选填“大于”“等于”或“小于”),写出推理过程。 (3)假设半径为r的雨滴在近地面下落h高度的过程中,重力对它所做的功全部转化为雨滴的内能,则雨滴的温度升高了多少?
三、案例分析题(共30分) 案例: 例题:物块从光滑曲面上P点自由滑下,通过粗糙的静止水平传送带后落到地面上的Q点。若传送带的皮带轮沿逆时针方向匀速转动,使传送带随之运动,如图5所示,物块仍从P点自由滑下,则( ) (A)物块有可能落不到地面上 (B)物块将仍落在Q点 (C)物块将会落在Q点的左边 (D)物块将会落在Q点的右边 本题很多学生会选择C。
根据以上案例,分别完成如下问题: 1.请就学生选择C的错因进行分析。 2.请简述引导学生纠错的思路与方法。 3.请设计促进学生解决上述例题的教学过程。
四、教学设计题(45分) 根据如下所示的教材内容,请完成如下各题: 1.写出学习目标并说明理由。 2.设计与学习目标相一致的教学过程。 3.写出板书设计。
|



























